1.注册资本10亿元 哈尔滨水务发展建设集团挂牌成立
近日,按照哈尔滨市市属国有企业战略性重组和专业化整合工作部署,由哈尔滨供水集团和哈尔滨排水集团划入重组的哈尔滨水务发展建设集团有限公司正式挂牌成立,标志着哈尔滨市市属国有企业改革发展迈入了新的历史阶段。
哈尔滨市政府副市长谭乐伟、市国资委主任许庄、水务发展建设集团董事长、总经理共同为哈尔滨水务发展建设集团揭牌。
哈尔滨市政府副市长谭乐伟致辞时指出,成立哈尔滨水务发展建设集团是市委、市政府推进国有企业战略重组的重要改革举措。希望水务发展建设集团坚持以习近平新时代中国特色社会主义思想为引领,深入贯彻落实党的二十大精神和习近平总书记对我省重要讲话精神,坚持以人民为中心的发展思想,着力保障和改善民生;要创新机制,增强活力,为我市水务产业转型升级、高质量发展作出新贡献;要整体谋划,融合发展,努力把潜在优势转化为现实优势,把现实优势转化为产业优势,引领企业走上高质量发展的快车道,不断推动我市国资国企改革发展取得新成效,为哈尔滨全面振兴全方位振兴作出更大贡献。
哈尔滨水务发展建设集团党委书记、董事长代表新集团表态发言。哈尔滨水务发展建设集团有限公司正式挂牌成立,是集团发展史上的一件大事,也是集团全体职工的一件喜事,体现了市委、市政府的战略决策,凝聚了市国资委的关心支持。立足新起点、迎接新挑战、奋进新征程,我们郑重承诺,将不辱使命,不负重托,牢记市委、市政府对水务发展建设集团的功能定位,完善企业业务布局、促进转型升级、保障改善民生,突出实业、聚焦主业,做优水务运营、做强水务工程、做精水务投资、做实水务技术,全力打造民生水务、智慧水务、创新水务、生态水务,推动水务行业全面发展,努力当好国企排头兵,为打造省内龙头、全国一流的水务集团不懈努力,以实际行动为我市全面振兴全方位振兴做出贡献。
哈尔滨市国资委、市住建局、市资源规划局、市发改委、市财政局、市城管局、市应急局、市交管局、市政府项目服务中心,南岗区委、区政府以及南岗区市场监督管理局、城管局、综合行政执法局等有关领导出席揭牌仪式。
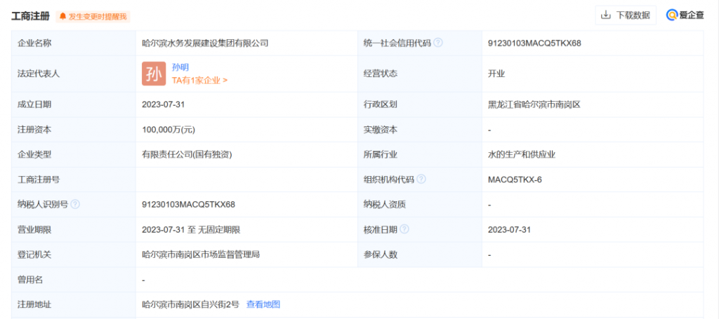
据爱企查显示,哈尔滨水务发展建设集团有限公司成立于2023年07月31日,注册资本10亿元,注册地位于哈尔滨市南岗区自兴街2号,法定代表人为孙明。
经营范围包括许可项目:污水处理及其再生利用;水污染治理;水环境污染防治服务;自来水生产与供应;检验检测服务一般项目:以自有资金从事投资活动;自有资金投资的资产管理服务;市政设施管理;智能水务系统开发;物联网应用服务;污水处理及其再生利用;水污染治理;水环境污染防治服务;防洪除涝设施管理;环境保护监测;生态资源监测;公共事业管理服务;工程技术服务(规划管理、勘察、设计、监理除外);工程和技术研究和试验发展;新材料技术研发;通用设备修理;电气设备修理;供应用仪器仪表制造;供应用仪器仪表销售;信息技术咨询服务;技术服务、技术开发、技术咨询、技术交流、技术转让、技术推广;住房租赁;非居住房地产租赁;机械设备租赁;土地使用权租赁;业务培训(不含教育培训、职业技能培训等需取得许可的培训)。

哈尔滨水务发展建设集团由哈尔滨市人民政府国有资产监督管理委员会100%持股。

2.宁波市奉化区水务有限公司挂牌成立
近日,宁波市奉化区水务有限公司挂牌成立,标志着奉化正式纳入宁波中心城区“大水网”版图,全市六区水务一体化格局基本形成,奉化水务事业发展翻开崭新篇章。
奉化水务前身为奉化自来水厂,目前有邱家山、岭丰两个主供水厂,供水能力25万吨/日,供水服务人口超30万。奉化水务成立后,将继续高标准履行供水、泵站更新改造,农村供水一体化等职能,同时归并涉水职能,推动业务板块整合升级。
当前正值国家水网和宁波“大水网”建设的关键时期,市水务环境集团按照市委、市政府相关要求,全力推进市、区两级水务企业整合,加快推动市域水务一体化和集团整体股改上市进程。
近年来,宁波市水务环境集团通过开展污水处理、再生水回用、污泥处置、水生态修复保护等涉水环保业务,不断延伸拓展下游产业链。今年上半年,该集团已累计处理污水1.73亿吨,再生水回用总量达4434万吨。
3.泉州水务集团权属企业——福建省蓝深环保技术股份有限公司敲钟挂牌新三板!泉州第一家
近日,泉州水务集团权属企业——福建省蓝深环保技术股份有限公司(证券简称:蓝深环保 证券代码:874153)在全国中小企业股份转让系统(简称新三板)举行挂牌敲钟仪式。
随着钟声敲响,福建蓝深环保以新格局、新面貌,开启了资本市场的新篇章,成为泉州市第一家市属国企新三板挂牌公众公司。

泉州市国资委党委书记、主任黄金顺,泉州水务集团党委书记、董事长黄建洪,泉州广播电视台副台长高栋梁和股东、中介机构代表等出席挂牌仪式,共同见证福建蓝深环保这一重要里程碑时刻。
福建省蓝深环保技术股份有限公司是一家集项目投融资、技术研发、设计咨询、产品智造、施工建造、运营托管于一体的国家高新技术企业,致力于村镇领域的分散式生活污水治理,重点为村镇地区客户提供污水治理解决方案及运营服务,并销售水污染治理装备、给水排污管材管件等污水治理相关产品。作为泉州市首家挂牌“新三板”的市属国有企业,福建蓝深环保将鼓舞更多成长型中小企业积极对接资本市场,为科技创新持续注入新活力、新力量。
4.注资2000万 中原环保海南子公司完成工商注册登记
中原环保披露,公司全资子公司中原环保(海南)有限公司完成工商注册登记,注册资本2000万元。
中原环保此前表示,为发挥公司在环保领域的技术优势,紧抓发展机遇,公司拟在海南成立全资子公司,开展污水污泥重点领域技术培育与应用、环境及公用事业项目投资建设、环保技术咨询及服务等业务。
名称:中原环保(海南)有限公司
类型:有限责任公司(非自然人投资或控股的法人独资)法定代表人:马宁注册资本:贰仟万圆整住所:海南省海口市美兰区碧海大道 86 号华彩海口湾广场写字楼 A 栋 707 号
中原环保(海南)有限公司经营范围除了城市生活垃圾经营性服务,进出口代理,技术进出口,房屋建筑和市政基础设施项目工程总承包等许可项目外,亦包括市政设施管理,污水处理及其再生利用,碳减排、碳转化、碳捕捉、碳封存技术研发,生态恢复及生态保护服务等一般项目。
来源:哈尔滨国资、爱企查、宁波日报、福建蓝深环保DWM、中原环保、工业水处理公众平台










